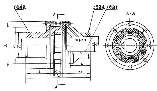
LMZ-Ⅱ(原MLL-Ⅱ)型帶制動輪梅花彈性聯(lián)軸器是由兩個帶凸爪形狀相同的半聯(lián)軸器和彈性元件組成,利用梅花形彈性元件置于兩半聯(lián)軸器凸爪之間,以實現兩半聯(lián)軸器的聯(lián)接。具有補償兩軸相對偏移、 減振、緩沖、徑向尺寸小、結構簡單、不用潤滑、承載能力較高、維護方便等特點,但 換彈性元件時兩半聯(lián)軸器需沿軸向移動。適用于聯(lián)接兩同軸線、起動頻繁、 正反轉變化、中低速、中小功率傳動軸系、要求工作性高的工作部位,不適用于重載及軸向尺寸受限制、 換彈性元件后兩軸線對中困難的部位。
標準修訂后,梅花形彈性元件的材料有聚氨脂和鑄形尼龍兩種。根據不同工況條件選用不同材料,如風機、水泵、輕工、紡織等工作平穩(wěn)、載荷變化不大時,可選用聚氨脂。兩種材料的價格相差較大。
MLL-Ⅱ 型帶制動輪梅花形彈性聯(lián)軸器基本性能參數和主要尺寸

?